

Classified according to structure
| Type | Layout | Construction?features | Advantage |
|---|---|---|---|
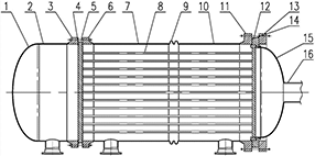
| Fixed tube plate heat exchanger | ![]() | The utility is composed of a shell, a tube bundle, a head, a tube plate, a baffle plate, a nozzle, etc. The structural features: Both tube plates are welded on each end of the shell respectively,tube bundle ends are fixed with tube plate. The tube bundle can be made into single pass, double pass or multiple pass. The utility is suitable for the working conditions where there is small temperature difference between shell and tubes. | The structure is simple and compact. With the same shell diameter, there are more tubes and less bypasses; Each tube can be replaced one by one, tube is easy to clean. |
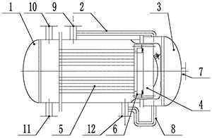
| Floating head heat exchanger | ![]() | The floating head heat exchanger is applicable to the situations where there is large temperature difference between shell and tubes or the shell side medium is easy to scale. The structural feature is that one of the tube plates at both ends is not fixedly connected with the shell, and can freely expand and contract in the shell along the axial direction, which is called the floating head. | The shell or tube would expand while there is a large temperature difference between the tube and shell, they are not constrained to each other and will not produce temperature difference stress; The tube bundle can be drawn out from the shell for further cleaning easily. |
| U-tube bundle heat exchanger | ![]() | The structure features: only one tube plate,both ends of the tube are fixed on the same tube plate with U-shaped tube bundle, which can expand and contract freely. When there is a large or small temperature difference between the shell and the tubes, there will be no temperature difference stress. The utility model can make up for the complex structure of the floating head heat exchanger, and at the same time, the utility model can retain the advantages that the heat exchange tube bundle can be drawn out and the thermal stress can be eliminated. | Plate, less sealing points, reliable operation and low cost; The tube bundle can be drawn out, and easy cleaning. |
| Stuffing box heat exchanger | ![]() | A modified structure of floating head heat exchanger, which moves the floating head originally placed in the shell side out of the body and uses a stuffing box to seal the leakage of medium in the shell side. The structural feature: only one end of the tube plate is fixedly connected with the shell, and the other end is sealed with a stuffing box. The tube bundle can expand and contract freely without temperature difference stress caused by temperature difference between shell and tube. | Compared with floating head heat exchanger, it is simple in structure,easy fabrication, less consumption and low cost; The tube bundle can be drawn out from the shell, easy cleaning for convenient?maintenance. |




Copyright @ 2022 Vanguard Marine Technology Co., Ltd. 蘇ICP備2022038322號-1 Email Login (Staff Only) Technical : SUEASY